Стартер Toyama T5BMS

Стартер Toyama T5BMS

АртикулФотоНазваниеЦенаКупить
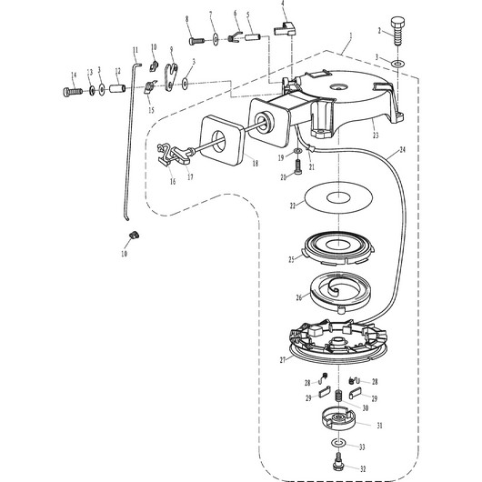
Позиция на схеме: 1Артикул: T5-05040000
Быстрый просмотр
Стартер в сборе Toyama T5BMSЦена 4 035 р. В корзину
Позиция на схеме: 26Артикул: F8-05050004
Быстрый просмотр
Пружина возвратная стартера Toyama T5BMS, Toyama T9.8BMS, Toyama F9.8BMSЦена 279 р. В корзину
Позиция на схеме: 28Артикул: F8-05050007
Быстрый просмотр
Пружина собачки стартера Toyama T9.8BMS, Toyama F9.8BMSЦена 45 р. В корзину
Позиция на схеме: 29Артикул: F8-05050006
Быстрый просмотр
Собачка стартера Toyama T9.8BMS, Toyama F9.8BMSЦена 95 р. В корзину
Работаем с 2009 года
например, коленвал 55
848 товаров в магазине

Колл-центр

ПН-ПТ 10:00 - 18:00
СБ-ВС Выходной


время работы: ПН-ПТ 10:00 - 18:00, СБ-ВС Выходной

Меню

Каталог

Добавьте в корзину

Товар добавлен в корзину!