Глушитель GSC5140

Глушитель GSC5140

АртикулФотоНазваниеЦенаКупить
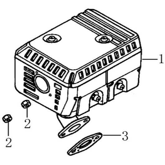
Позиция на схеме: 1Артикул: E00201300200001
Быстрый просмотр
Глушитель с опорой G120-223H - E00201300200001Цена 999 р. В корзину
Позиция на схеме: 2Артикул: 380340005-0005
Быстрый просмотр
Гайка М8 GS5562
Позиция на схеме: 3Артикул: DAB001
Быстрый просмотр
Прокладка глушителя G120-225H - DAB001Цена 35 р. В корзину
Работаем с 2009 года
например, фильтр 120T
848 товаров в магазине

Колл-центр

ПН-ПТ 10:00 - 18:00
СБ-ВС Выходной


время работы: ПН-ПТ 10:00 - 18:00, СБ-ВС Выходной

Меню

Каталог

Добавьте в корзину

Товар добавлен в корзину!