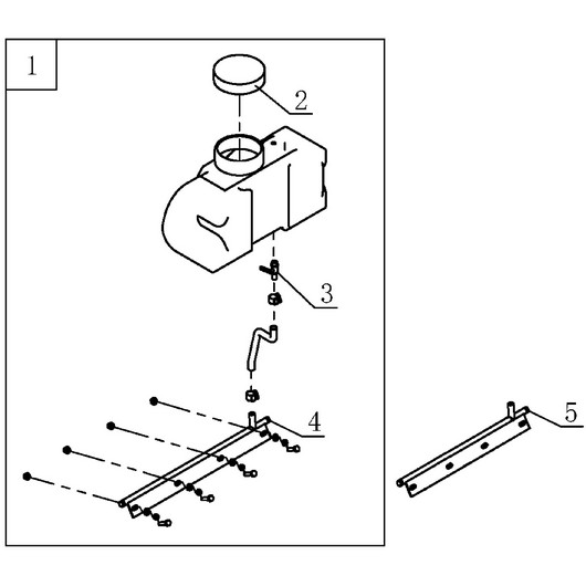
На этой странице рассматривается комплект оснащения подачи воды, поставляемый отдельно.
Нумерация артикулов начинается заново, с «1».
ВНИМАНИЕ! В комплект (1) входит планка в водяной трубкой (4), предназначенная для виброплиты
PC1050FT, для установки данного комплекта на виброплиту PC8742FT необходимо отдельно приобрести
планку с водяной трубкой (5) 















































































