Глушитель Champion PC6036F

Глушитель Champion PC6036F

АртикулФотоНазваниеЦенаКупить
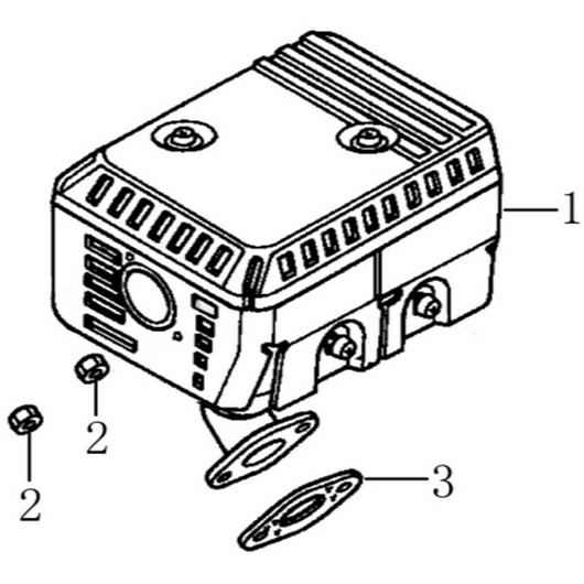
Позиция на схеме: 1Артикул: DA45F000
Быстрый просмотр
Глушитель G160-210H - DA45F000
Посмотреть аналог
Цена 815 р. В корзину
Позиция на схеме: 2Артикул: 380340005-0005
Быстрый просмотр
Гайка М8 GS5562
Позиция на схеме: 3Артикул: 180650065-0001
Быстрый просмотр
Прокладка глушителя заменена на артикул DAB001Цена 35 р. Уведомить
Работаем с 2009 года
например, стартер 255
848 товаров в магазине

Колл-центр

ПН-ПТ 10:00 - 18:00
СБ-ВС Выходной


время работы: ПН-ПТ 10:00 - 18:00, СБ-ВС Выходной

Меню

Каталог

Добавьте в корзину

Товар добавлен в корзину!