Панель управления Champion GG6500

Панель управления Champion GG6500

АртикулФотоНазваниеЦенаКупить
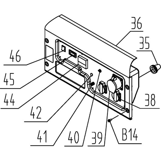
Позиция на схеме: 36Артикул: 305495001505
Быстрый просмотр
Корпус панели управления GG6500, 6501E, 6500EBS, 7501E, 7501E3 ( 3044001000017 )Цена 1 439 р. Уведомить
Позиция на схеме: 39Артикул: 3014003000020
Быстрый просмотр
Розетка 250В/32А все генераторыЦена 785 р. В корзину
Позиция на схеме: 40Артикул: 3008204000044
Быстрый просмотр
Выключатель сети GG6500, 6500EBS, LPG6500E / DG6501E, 6501ES 23АЦена 509 р. В корзину
Позиция на схеме: 44Артикул: 3047002000001
Быстрый просмотр
Вольтметр GG3000, 6500, 6500EBS, 7501E, 7500ES, LPG6500E, LPG2500, GW200AE / DG3601E, 6501E, 6501ES, 10000ЕЦена 505 р. В корзину
Позиция на схеме: 45Артикул: 3047018000001
Быстрый просмотр
Счетчик моточасов GG6500, 6500EBS, 6501E, 7500ES, 7501E, 7501E3, GW200AE, DG6501ES / E3Цена 999 р. В корзину
Позиция на схеме: 46Артикул: 3012002000007
Быстрый просмотр
Выключатель зажигания GG2300,(LPG)2500,2801,3000,3200,3300,3301,5000,6500(-3),8000 см.3012002000015Цена 65 р. В корзину
Работаем с 2009 года
например, магнето 55
848 товаров в магазине

Колл-центр

ПН-ПТ 10:00 - 18:00
СБ-ВС Выходной


время работы: ПН-ПТ 10:00 - 18:00, СБ-ВС Выходной

Меню

Каталог

Добавьте в корзину

Товар добавлен в корзину!