Глушитель Champion GG3200EW

Глушитель Champion GG3200EW

АртикулФотоНазваниеЦенаКупить
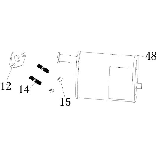
Позиция на схеме: 12Артикул: DAB001
Быстрый просмотр
Прокладка глушителя G120-225H - DAB001Цена 35 р. В корзину
Позиция на схеме: 48Артикул: 4665270189662-0042
Быстрый просмотр
Глушитель GG3200(EW)Цена 2 415 р. В корзину
Работаем с 2009 года
например, коленвал 254
848 товаров в магазине

Колл-центр

ПН-ПТ 10:00 - 18:00
СБ-ВС Выходной


время работы: ПН-ПТ 10:00 - 18:00, СБ-ВС Выходной

Меню

Каталог

Добавьте в корзину

Товар добавлен в корзину!