Панель управления Champion GG3200

Панель управления Champion GG3200

АртикулФотоНазваниеЦенаКупить
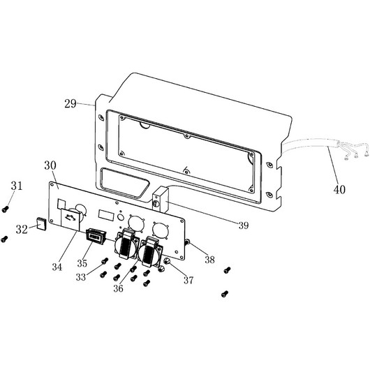
Позиция на схеме: 29Артикул: 4665270189662-0107
Быстрый просмотр
Панель GG3200,3200EW (пластиковый корпус)Цена 1 219 р. Уведомить
Позиция на схеме: 32Артикул: 3012002000007
Быстрый просмотр
Выключатель зажигания GG2300,(LPG)2500,2801,3000,3200,3300,3301,5000,6500(-3),8000 см.3012002000015Цена 65 р. В корзину
Позиция на схеме: 34Артикул: 029029300100
Быстрый просмотр
Вольтметр GG3300 ( 2020 )Цена 599 р. В корзину
Позиция на схеме: 35Артикул: 3047018000001
Быстрый просмотр
Счетчик моточасов GG6500, 6500EBS, 6501E, 7500ES, 7501E, 7501E3, GW200AE, DG6501ES / E3Цена 999 р. В корзину
Позиция на схеме: 36Артикул: 029029110160
Быстрый просмотр
Розетка 250В/16А все генераторы
Посмотреть аналог
Цена 215 р. В корзину
Позиция на схеме: 39Артикул: 271290011-0001
Быстрый просмотр
Выключатель сети GG3800,3301 13АЦена 729 р. В корзину
Работаем с 2009 года
например, магнето 265
848 товаров в магазине

Колл-центр

ПН-ПТ 10:00 - 18:00
СБ-ВС Выходной


время работы: ПН-ПТ 10:00 - 18:00, СБ-ВС Выходной

Меню

Каталог

Добавьте в корзину

Товар добавлен в корзину!