Топливный бак Champion BC7723

Топливный бак Champion BC7723

АртикулФотоНазваниеЦенаКупить
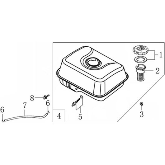
Позиция на схеме: 1Артикул: DA02P022
Быстрый просмотр
Крышка топливного бака G120HK - G180 G200- G420HK BC8716 GP40 - GP100E GHP40-2 GTP80-82 CVG424 (аналог см 170870039-0001)Цена 115 р. В корзину
Позиция на схеме: 2Артикул: 170720001-0001
Быстрый просмотр
Фильтр сетчатый топливного бака G120 - G420HK - 170720001-0001
Посмотреть аналог
Цена 59 р. В корзину
Позиция на схеме: 3Артикул: 380370048-0001
Быстрый просмотр
Гайка М6 GS5562
Позиция на схеме: 4Артикул: DA73P000F00CH
Быстрый просмотр
Бак топливный G160-210H G250 (кроме GP55,GS,ST) GP50 GP80 BC9713 BC9714 комплект 3,6 л (аналог артикул 170501038-0006 4 л.)
Посмотреть аналог
Цена 1 499 р. В корзину
Позиция на схеме: 5Артикул: DBC033
Быстрый просмотр
Штуцер топливного бака с топливным фильтром G120 - G420Цена 49 р. В корзину
Позиция на схеме: 6Артикул: DAM004
Быстрый просмотр
Хомут шланга G200-1HK, G270-1HK, G270HK, G390-1HK, G390-1HKE, G390HK, G390HKE
Позиция на схеме: 7Артикул: FD02C006
Быстрый просмотр
Шланг топливный 4х8х165 G210-1HK
Посмотреть аналог
Цена 35 р. В корзину
Позиция на схеме: 8Артикул: 578906028BX
Быстрый просмотр
Болт М6х28 G200-1HK
Работаем с 2009 года
например, цилиндр 240
848 товаров в магазине

Колл-центр

ПН-ПТ 10:00 - 18:00
СБ-ВС Выходной


время работы: ПН-ПТ 10:00 - 18:00, СБ-ВС Выходной

Меню

Каталог

Добавьте в корзину

Товар добавлен в корзину!