Глушитель Champion BC7723

Глушитель Champion BC7723

АртикулФотоНазваниеЦенаКупить
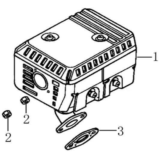
Позиция на схеме: 1Артикул: E00201300200001
Быстрый просмотр
Глушитель с опорой G120-223H - E00201300200001Цена 999 р. В корзину
Позиция на схеме: 2Артикул: 380340005-0005
Быстрый просмотр
Гайка М8 GS5562
Работаем с 2009 года
например, поршень 245
848 товаров в магазине

Колл-центр

ПН-ПТ 10:00 - 18:00
СБ-ВС Выходной


время работы: ПН-ПТ 10:00 - 18:00, СБ-ВС Выходной

Меню

Каталог

Добавьте в корзину

Товар добавлен в корзину!